當前位置: >>首頁>脫硫脫硝產品
DYTX系列煙氣脫硫脫硝噴槍
產品分類: 脫銷噴槍
DYTX系列煙氣脫硫脫硝噴槍適用于各類鍋爐煙氣脫硫脫硝,能有效凈化煙氣中的多氮氧化物、硫氧化物。該噴槍的顯著特點在于安裝便捷,能集成控制,脫硝效率顯著。
訂購熱線:
18921132828
一、產品簡介
DYTX系列煙氣脫硫脫硝噴槍適用于各類鍋爐煙氣脫硫脫硝,能有效凈化煙氣中的多氮氧化物、硫氧化物。該噴槍的顯著特點在于安裝便捷,能集成控制,脫硝效率顯著。
二、DYTX系列煙氣脫硫脫硝噴槍主要技術性能
1.選材優質:高強度耐腐耐磨合金材質(316L、310S、C76、2205)可供用戶選擇,耐高溫達2000℃以上,使用壽命長,規格齊全。
2.自動降溫:無需配備空氣壓縮機,無需借助冷卻風,節約能耗的同時又降低了運行成本。
3.霧化精細:采用科學的內部結構優化設計,精度高,霧化顆粒直徑僅在30~60微米,霧化角度在30-90度之間,噴嘴形式有扇形和實心錐形,霧化均勻,覆蓋面積廣。
4.高效脫硝:對分解爐的橫截面積充分覆蓋,保證能與還原劑充分混合均勻,反應更加充分,脫硝效率更高,減少還原劑浪費和噴槍的頻繁更換。
5.操作方便:脫硝噴槍帶有保護套管和金屬軟管,噴嘴與槍體采用螺紋連接,即便損壞也只需更換噴嘴,便于現場安裝拆卸與后期的維護保養,大大降低了經濟成本。
三、DYTX系列煙氣脫硫脫硝噴槍型號說明

四、DYTX系列煙氣脫硫脫硝噴槍適用范圍
適用于各類循環流化床(CFB)鍋爐、水煤漿鍋爐、煤粉爐、鏈條爐、玻璃窯爐、垃圾焚燒鍋爐等各種工業鍋爐的煙氣脫硫脫硝。
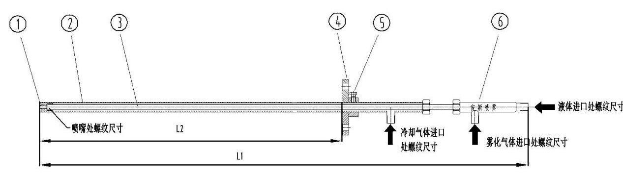
五、結構簡圖


六、噴槍尺寸表

七、其他參數尺寸表

相關資訊
產品中心
聯系我們
宜興市宙斯泵業有限公司
咨詢:0510-87440300
Email:754917141@qq.com
公司地址:江蘇省宜興市丁蜀鎮大浦工業集中區





