DFW系列廢液焚燒霧化噴槍
DFW系列廢液焚燒霧化噴槍主要采用310S不銹鋼,具有很好的抗氧化性、耐腐蝕性,因為含鉻量和含鎳量較高,使得擁有較好的蠕變強度,能夠在高溫下持續作業,具有良好耐氧化性、耐腐蝕性和抗高溫性。
一、產品簡介
DFW系列廢液焚燒霧化噴槍主要采用310S不銹鋼,具有很好的抗氧化性、耐腐蝕性,因為含鉻量和含鎳量較高,使得擁有較好的蠕變強度,能夠在高溫下持續作業,具有良好耐氧化性、耐腐蝕性和抗高溫性。焚燒爐是利用煤、燃油、燃氣等燃料的燃燒,把將要處理的物體進行高溫的焚毀碳化,以達到消毒的目的,而DFW系列廢液焚燒霧化噴槍主能夠將廢液精細霧化,使得脫硝效率更高,氨逃逸率低。
二、DFW系列廢液焚燒霧化噴槍主要技術性能
1.霧化效果好:平均霧化直徑只有60微米,在同樣的水流量下,霧滴數量增加幾十倍,液滴總表面積增加幾十倍,使得脫硝效率更高,氨逃逸率低。
2.穿透性強:水霧從噴嘴出口噴出時速度達到40m/s,保證了還原劑能夠充分混合,從而提高了脫硝效率,規格齊全,流量從3kg/h-250kg/h,(大于250kg/h,也可以加工,一般用于除塵前的降溫),噴霧形狀有實心錐和扇形。
3.大流量調節比:單支噴槍流量調節比達到1:5,再加上多支噴槍的組合,肯定滿足任何工況
4.控制簡單:工作時,固定氣壓不變,僅靠調節水壓就能達到調節水量的目的。
5.使用壽命長:因為噴嘴工作在低壓環境下,水壓和氣壓都不超過0.6mpa,所以對噴嘴磨損小,噴槍外還帶保護套(根據客戶需求定制),噴嘴可以避免高溫和高粉塵及高流速煙氣的沖擊磨損。
三、DFW系列廢液焚燒霧化噴槍型號說明

四、DFW系列廢液焚燒霧化噴槍適用范圍
適用于各類循環流化床(CFB)鍋爐、脈沖拋式排焚燒爐、回轉式焚燒爐、垃圾焚燒鍋爐和CAO焚燒爐等各種類型的焚燒爐。
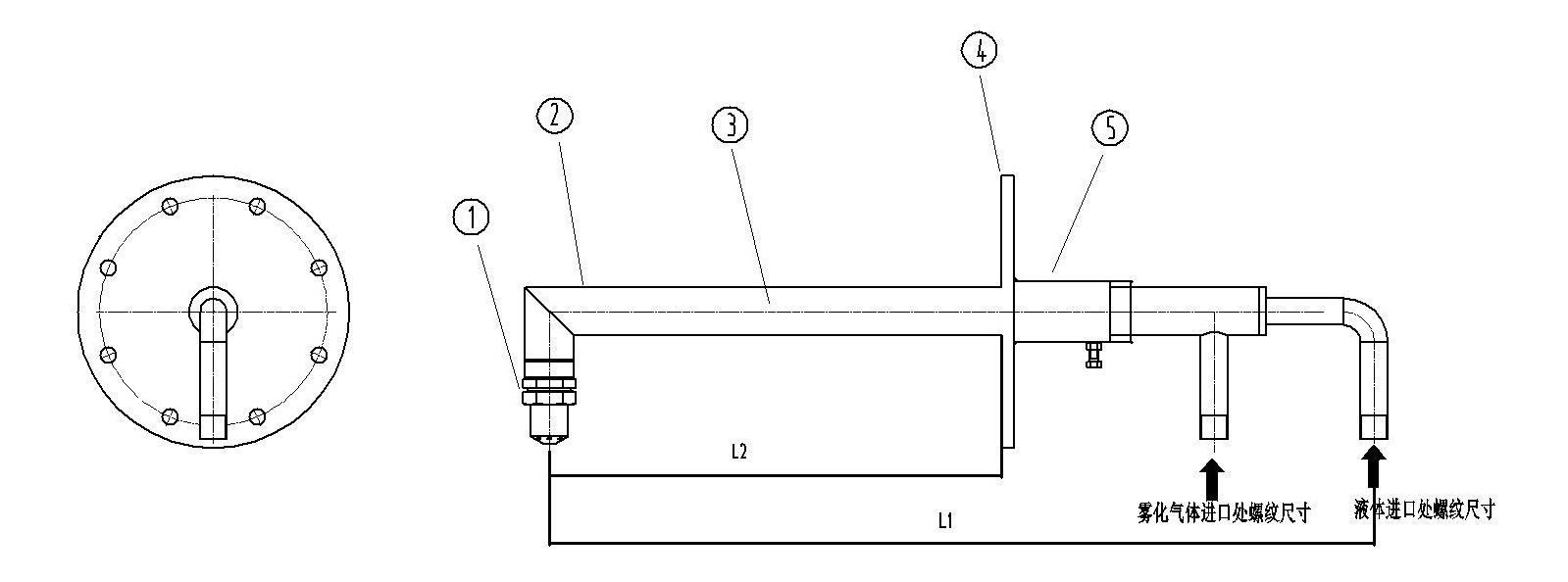
五、結構簡圖


六、噴槍尺寸表

七、其他參數尺寸表

相關資訊
宜興市宙斯泵業有限公司
咨詢:0510-87440300
Email:754917141@qq.com
公司地址:江蘇省宜興市丁蜀鎮大浦工業集中區





