一、產品簡介
DCTX系列電廠專用脫硝噴槍選用優質耐高溫、耐腐耐磨材料,是脫硝系統的關鍵設備之一。該產品的顯著特點是:配備自動伸縮設計,當脫硝系統停用時噴槍會自行縮回,這樣就能有效防止鍋爐內的高溫煙氣對噴槍進行灼燒,達到運行安全穩定的效果。無需風冷卻進行降溫冷卻,系統停運時無需拔出也不會燒壞,大大降低了耗能,節約了運行成本。DCTX系列電廠專用脫硝噴槍外觀設計簡潔,便于安裝,性能質量穩定,使用范圍十分廣泛。
二、DCTX系列電廠專用脫硝噴槍主要技術性能
1.材料選用性能優越:耐酸堿、耐磨損、耐熱溫度更是達2000℃以上,使用壽命跟普通氨水噴槍相比高達5倍以上,(材質可根據用戶需求定制)規格齊全。
2.降溫設計科學獨特:無需冷卻風,既節約了電能又減少了運行成本。
3.霧化效果明顯突出:在噴槍尾后端采用科學的霧化技術,霧化角度在30-90度之間可供選擇,霧化顆粒直徑30~60μm,即便噴嘴發生磨損或者損壞,依舊能保持良好的霧化效果。在同樣的水流量下,霧滴輸了增加幾十倍,液滴總表面積增加幾十倍,使得脫硝效率更高,氨逃逸率低。
4.穿透性能優越強大:水霧從噴嘴出口噴出時速度可達40m/s,保證能與還原劑充分接觸,混合均勻,從而提高了脫硝效率。
5.操作控制簡單便捷:工作時,固定氣壓不變,只需調節水壓就可以達到調節水量的目的。
6.外觀設計科學簡便:噴嘴與脫硝噴槍的槍體采用螺紋連接,即便損壞也無需更換整個槍體,只需更換噴嘴,大大降低了經濟成本。便于現場安裝拆卸與后期的維護保養。
三、DCTX系列電廠專用脫硝噴槍型號說明

四、DCTX系列電廠專用脫硝噴槍適用范圍
適用于電廠、火電廠中各類循環流化床(CFB)鍋爐、煤粉爐、燃油、燃氣鍋爐、鏈條爐、玻璃窯爐、垃圾焚燒鍋爐等各種工業鍋爐的脫硝。
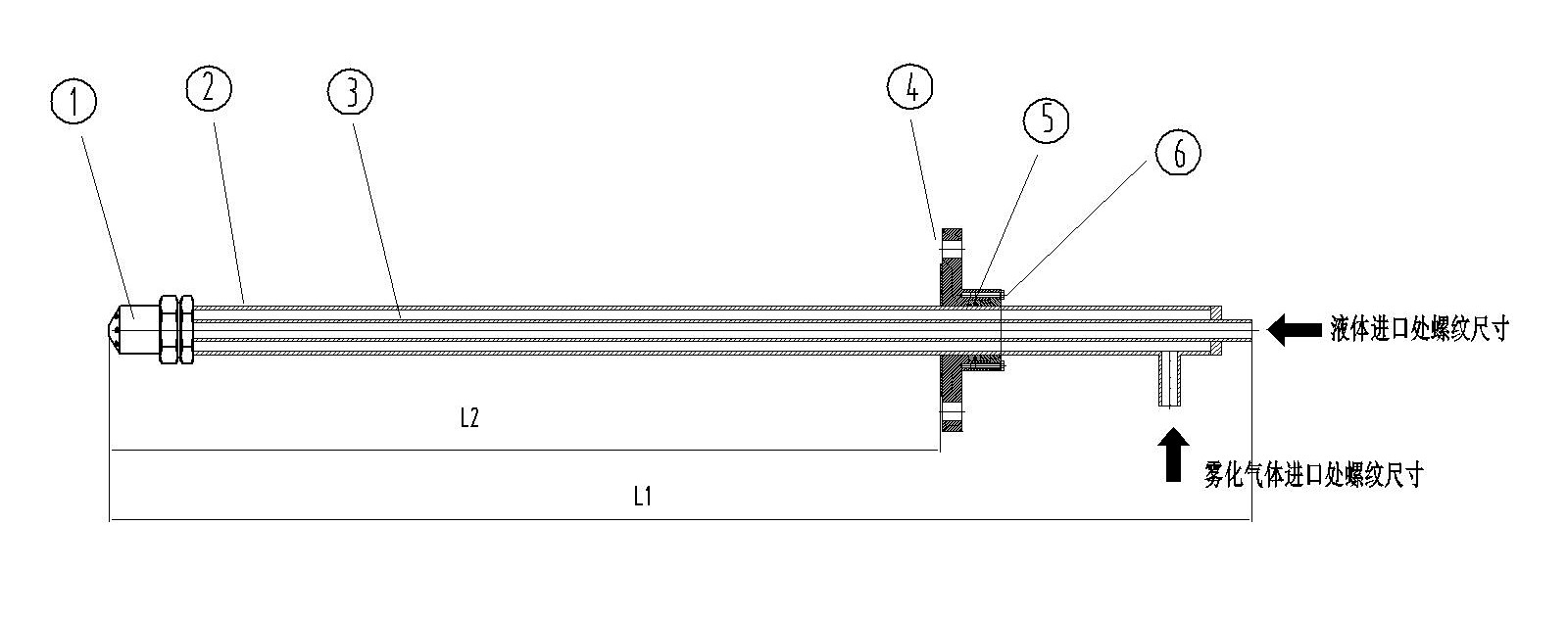
五、結構簡圖


六、噴槍尺寸表

七、其他參數尺寸表

相關資訊
宜興市宙斯泵業有限公司
咨詢:0510-87440300
Email:754917141@qq.com
公司地址:江蘇省宜興市丁蜀鎮大浦工業集中區





